CHINA

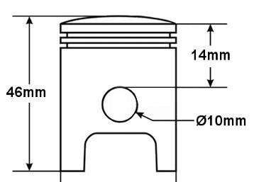
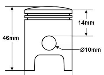
Piston scuter 2T Peugeot Buxy 80cc

Specificații

Cod Produs
26421
Producator
CHINA
Disponibilitate
In stoc

Descriere

Specificatii: Diametru bolt 12 mm

Trebuie sa te inregistrezi si sa te loghezi pentru a putea cumpara produsele noastre.

Intra in cont